All you need to know about Dive Watches
What makes a watch a diver's watch?
Paris, 1867 – The Rouquayrol-Denayrouze diving apparatus wins a gold medal at the Universal exhibition. Among the visitors of the international exhibition was Jules Verne. A few months later, he incorporated this diving apparatus in his novel 20000 Leagues Under The Sea, as part of the equipment of the Nautilus divers. At that time, watches were protected against shocks, dust or moisture by being placed in the breast pocket of jackets. However, in the late 19th century, watches started to be worn on the wrist, principally for military use (before the fashion spread). Strapped to the arm, watches became exposed to all manner of hazards. The need for hermetically sealed watches, resistant to the ingress of dust and water, became a necessity, thus speeding the evolution of the waterproof watch. Later, in 1942/1943, Emile Gagnan and Jacques-Yves Cousteau worked on the Aqualung, the first Self Contained Underwater Breathing Apparatus (a.k.a. SCUBA), to reach worldwide commercial success. The military and professional diving needs, coupled with the growing popularity of Scuba diving, made the importance of robust and trustworthy underwater instruments paramount. A few years later, the modern dive watches were born…
Timeline – The evolution of dive watches
The story of water-resistant watches is a long evolution, which really began in the late 19th century. If the need to protect the mechanisms has always been obvious, watchmakers then invented and perfected a variety of solutions to reinforce weak points (bezels, backs, crowns/stems, glasses, gaskets, external cases…) through which dust and water could find their way inside the watches, causing dials and movements to rust. In particular, several innovations made their apparition – like screwed backs and bezels, protective screwed caps for the crown or screw-down crowns. At the beginning of the 20th century, the arrival of the wristwatch and the watches produced for World War 1 would only speed up the process. While it is impossible to list all innovations and designs that have been engineered, the following pics serve the purpose of illustrating some of the evolutions over time.
Among the early 20th century developments of dustproof and waterproof watches, Rolex unveiled in 1926 the now-iconic “Oyster”, with a hermetically sealed case to protect its movement. A year later, Hans Wilsdorf, founder of Rolex, used Mercedes Gleitze, the first British women to swim across the Channel, as a tester. In a new attempt to swim between France and England, Gleitze was wearing around her neck an Oyster, proving that no moisture had penetrated during hours of submersion
The Hamilton Khaki Navy “Frogman” features a screw cap over its crown. This cap, which was attached to the case with a short chain, prevents water from entering the watch and keeps it waterproof. The “Frogman” is a perfect example of the multiple watches designed for military purposes and active service on land and water. Hamilton waterproof watches were provided to NCDUs (Naval Combat Demolition Units), created in 1943.
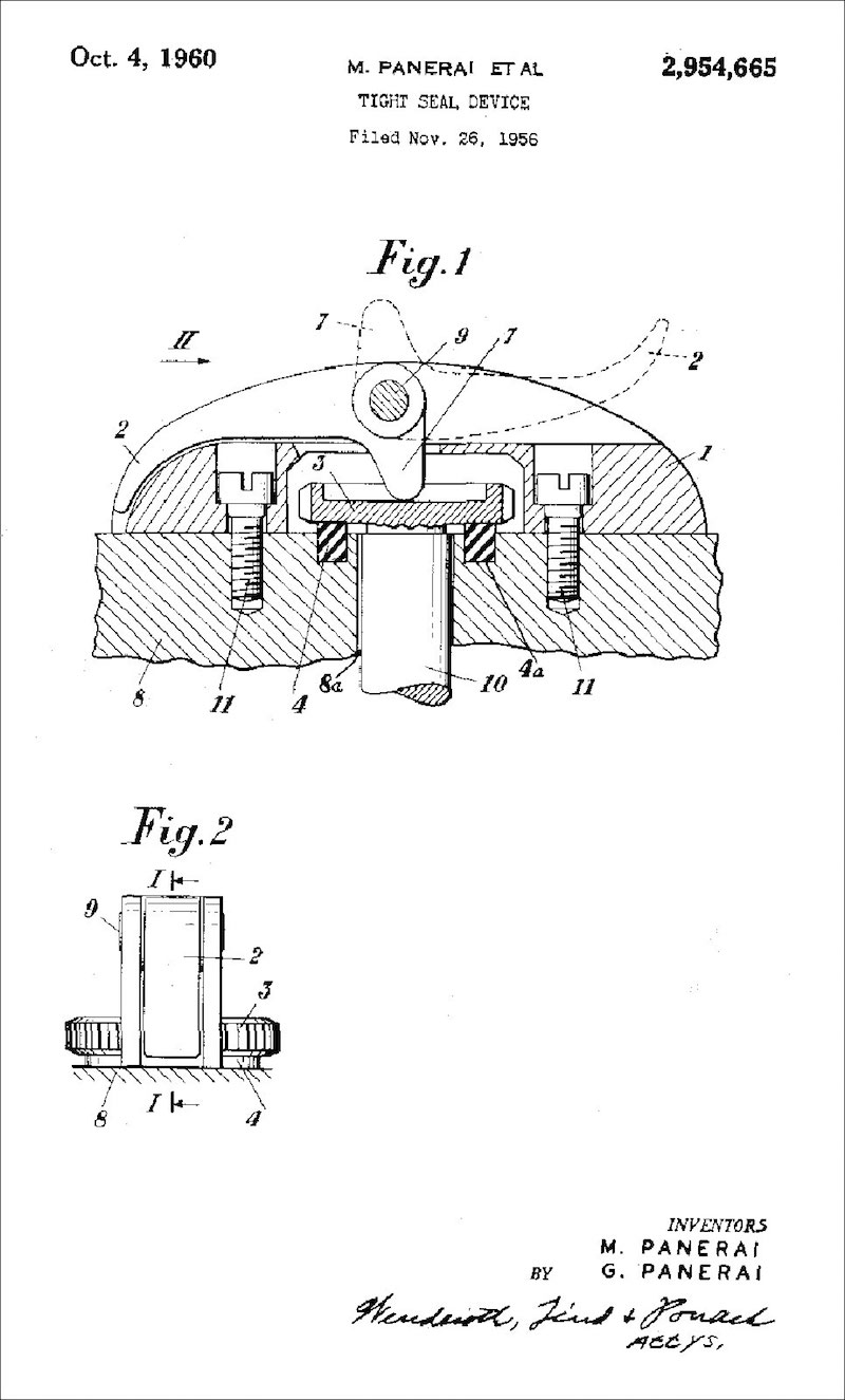
Drawings from the 1950s for the patented Panerai crown protecting bridge, a signature feature for the Italian brand and its now iconic Luminor line. The watch name is connected to a self-luminous substance based on tritium, Luminor, that later superseded radium, in order to give high visibility to the dials of the brand’s instruments.
The first modern dive watches appeared in the early 1950s with the Blancpain Fifty Fathoms, the Zodiac Sea Wolf or the Rolex Submariner. The Blancpain Fifty Fathoms was designed by Jacques Fiechter, It was later adopted (with the addition of magnetic shielding) by French elite combat frogmen. The watch became a standard and still features all attributes of modern dive watches (rotating bezel with 60-minute scale, high water resistance, clear luminescent markings…). As indicated by its name, it was water-resistant up to 50 fathoms, which is about 91.45 meters or 300ft.

The Ploprof was developed jointly with Comex in the late 1960s (commercial launch in 1971 / 1972) for saturation diving and professional dive use (see the history of the watch here). Among its unique characteristics is its bezel lock device. The bidirectional bezel can only be turned while pressing on the red pusher. While the original Ploprof helium-tight monobloc case was originally tested to 60ATM (600m), the modern Seamaster Ploprof is certified water-resistant to 1200m (and it features a helium escape valve).
The contemporary standards for mechanical dive watches
A contemporary dive watch must be designed and manufactured in accordance with the ISO 6425 standard. The ISO 6425 International Standard specifies the requirements and test methods for dive watches (including mixed-gas diving). Such timekeepers must withstand diving in water in depths of at least 100m and respect a number of other requirements among which:
- Featuring a time preselecting device, i.e. a rotating bezel with markings at least every 5 minutes
- Adequate readability at 25cm in total darkness
- The indication that the watch is running, in general, a second hand with a luminescent tip
- Magnetic, shock, thermal shock and saltwater resistance
- Strap/band solidity

Rotating bezel graduation
Among the risks faced by divers when they go underwater is decompression. The gas dissolved into tissues under pressure during the dive forms bubbles, in case the ascent (and decompression) is done too fast to allow safe elimination of the gas, which can cause serious injuries. Divers breathing gas need to ascend at a certain rate determined by their exposure to pressure and gas in use. There is a large range of options in decompression practices, for instance, decompression may be continuous or staged with stops at regular depth intervals. Rotating bezels are used to measure the total dive time and the decompression stops during the ascent. Rotating bezels are usually unidirectional to allow the bezel to turn only counterclockwise: if the bezel is rotated by inadvertence it can only show a ‘safe’ longer elapsed time. The pointer marking the ‘zero’ position shall be prominent and highly visible. If nowadays most divers use computers, a mechanical watch with a rotating bezel remains a perfect back-up.
Depth gauge
Traditionally, divers were strapping a dive watch and a depth gauge, to calculate decompression time at given depths. A few manufacturers have incorporated the depth gauge into the watch, as for instance Jaeger-LeCoultre, Oris, IWC, Blancpain and of course Panerai. Several methods are used. Oris simply use a capillary that fills with water depending on the pressure. Jaeger-LeCoultre uses a membrane sensitive to pressure and linked to a series of gears to move a hand. IWC uses a spring membrane system that understands the relative pressure of the water.
Below: Jaeger-Lecoultre Master Compressor Diving Pro Geographic Navy Seals features a mechanical depth gauge. In the compression compartment on the side of the case, a steel membrane contracts or expands as water pressure varies.
Helium relief valve
Below a depth of 70 meters, the air becomes toxic because of increased pressure. Divers who go this deep, by using diving bells or submersibles, breathe air that has been saturated with helium, to prevent any risk of inert gas narcosis. Helium is one of the smallest elements, thus it will penetrate the watch where water cannot. During prolonged stays in a pressurized environment, the pressure inside the watch (initially surface pressure) gradually becomes the pressure of the diving depth. Depressurization poses a problem when the diver ascends or more precisely returns to surface pressure. Without a helium relief valve, which enables the pressure to escape as soon as it reaches a certain level, the pressure may cause the crystal to pop out.
Above: Helium relief valve of the Hamilton Khaki Frogman 1000m titanium presented at Baselworld 2016, closed (blue) or opened (red).

Luminosity under the sea
Water is only clear at shallow depth. When depth increases, the amount of visible light diminishes. Less than 25% of the surface lights reaches a depth of 10m in clear waters – and there is rarely any significant light beyond 200 meters.

Ensuring adequate readability in low visibility conditions is therefore critical. The hour markers, zero marker on the bezel and hands shall prevent reading errors with specific styles and constant legibility. The early dive watches involved radioactive material like radium or tritium mixed with Zinc sulfide. The unhealthy aspect of these materials, specifically for people applying it, lead to abandoning radio-luminescent paints (active all the time) with photo-luminescent materials, which need to be charged by a light source, glowing and then fading over time. The brand Super-Luminova is one of the main suppliers of such photo-luminescent materials to illuminate markings.

The colour spectrum is also quickly altered with depth. If orange is a popular colour to highlight the minute hand or indication on dive watches, it darkens with depth and turns greenish. Beyond colours, contrast matters.
updated May 1st, 2020 - layout



7 responses
What about super compressor tech??
Wonderful stuff! Gonna go hug all my vintage dive watches now…
As advised at the beginning of the article we could not cover all developments for dive watches. Super compressor cases are indeed interesting, specifically with their internal rotating bezel. To me, designs with a unique flair.
I’ve been SCUBA diving for over 50 years and each mechanical watch I have owned has failed me when it is needed most. Rolex, Omega and others in that price range are stylish and make a social statement. They are popular for their looks, not reliability, and costly to maintain and repair., In my experience, mechanical watches tend to be unreliable when compared to the many quartz watches I have used successfully: Citizen, Sinn, Seiko and Casio cost a fraction of the so-called mechanical “dive watches” and I’ll chose them every time. I realize that mechanical watches are more of a collector’s fad, a falling back to earlier times, but using one for diving is like using an adding machine instead of an I Pad.
Indeed quartz watches offer features -starting with precision- that mechanical timekeepers do not. The old world of mechanical watches is an anachronism with fascinating engineering, inventiveness, tradition, craftsmanship and artistry.
The mechanical vs quartz should have nothing to do with water tightness. And the more one opens a quartz watch case to replace batteries, the increased chance of a leaky watch. What about the Quartz Omega Marine, this was more than a fashion statement, yet you are knocking Omega as a fashion watch?
That was a fun morning read, thanks ! Did the ISo standards, introduced in the early 90`s i think ?? follow the then technical standard of watches or did they add to it to raise the bar.